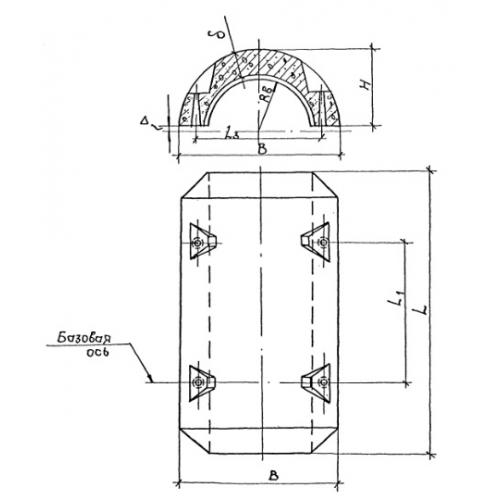
2УТК 377 Утяжелители

Чертеж изделия:
Характеристики изделия:
ПараметрЗначение
длина1200 мм
ширина720 мм
высота345 мм
масса300 кг
нормативный документТУ 102-264-81

2УТК 377 Утяжелители сборные кольцевые по ТУ 102-264-81.