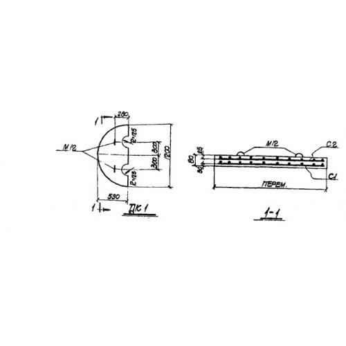
ДК 1
Характеристики изделия:
| Параметр | Значение |
|---|---|
| длина | 1200 мм |
| ширина | 590 мм |
| высота | 80 мм |
| вес | 100 кг |
| серия | ТП 905-7 |
Цена:
Рассчитать стоимостьДК 1 Плиты днища круглые по проекту ТП 905-7.
| Параметр | Значение |
|---|---|
| длина | 1200 мм |
| ширина | 590 мм |
| высота | 80 мм |
| вес | 100 кг |
| серия | ТП 905-7 |
ДК 1 Плиты днища круглые по проекту ТП 905-7.
