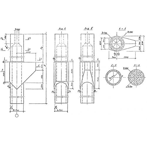
КК 108

Чертеж изделия:
Характеристики изделия:
ПараметрЗначение
длина12000 мм
ширина1400 мм
высота800 мм
вес7200 кг
ШифрЭ 1708/1

КК 108 Колонны крайние по Шифру Э 1708/1.