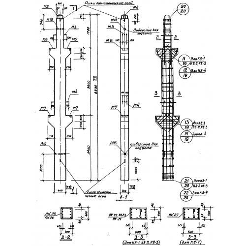
К 8
Характеристики изделия:
| Параметр | Значение |
|---|---|
| длина | 8830 мм |
| ширина | 400 мм |
| высота | 1100 мм |
| вес | 5450 мм |
| серия | ИИ 22-1 |
Цена:
Рассчитать стоимостьК 8 Колонны по серии ИИ 22-1.
| Параметр | Значение |
|---|---|
| длина | 8830 мм |
| ширина | 400 мм |
| высота | 1100 мм |
| вес | 5450 мм |
| серия | ИИ 22-1 |
К 8 Колонны по серии ИИ 22-1.
