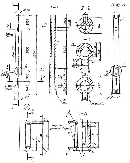
СКЦ 11.5-34(16)

Чертеж изделия:
Характеристики изделия:
ПараметрЗначение
Длина L11500 мм
Диаметр D1373 мм
Диаметр D2200 мм
Вес1230 кг
СерияБ3.507.1-3.04
Норма погрузки на машину (20тн)16 шт
Вагонная норма погрузки-

Стойка СКЦ 11,5-34(16) изготавливается согласно нормам серии Б3.507.1-3.04. Данные стойки предназначены для опор наружного освещения и контактных сетей городского транспорта с кабельной подводкой питания. Стойки СКЦ представляют собой усеченный конус со сквозным каналом внутри.