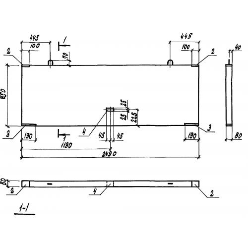
ПОГ 249.85
Характеристики изделия:
| Параметр | Значение |
|---|---|
| длина | 2490 мм |
| ширина | 80 мм |
| высота | 850 мм |
| вес | 425 кг |
| серия | 3.818.9-2 |
Цена:
Рассчитать стоимостьПОГ 249.85 Панели ограждения станков, выгульных площадок и резделительных секций по серии 3.818.9-2.
| Параметр | Значение |
|---|---|
| длина | 2490 мм |
| ширина | 80 мм |
| высота | 850 мм |
| вес | 425 кг |
| серия | 3.818.9-2 |
ПОГ 249.85 Панели ограждения станков, выгульных площадок и резделительных секций по серии 3.818.9-2.
