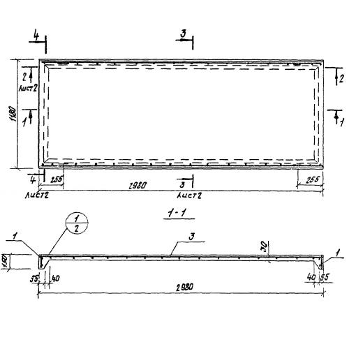
ПП 1

Чертеж изделия:
Характеристики изделия:
ПараметрЗначение
длина2980 мм
ширина1180 мм
высота150 мм
вес450 кг
серия3.702-1/79

ПП 1 Плиты перекрытия по серии 3.702-1/79.