К 2
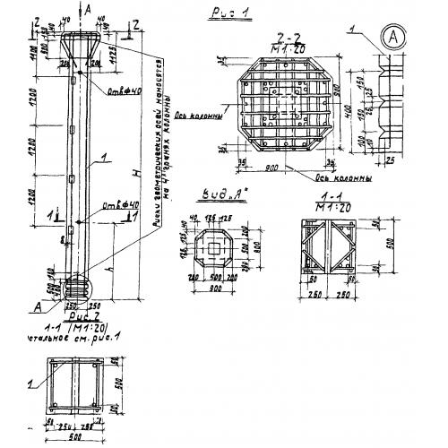
Характеристики изделия:
| Параметр | Значение |
|---|---|
| длина | 6550 мм |
| ширина | 700 мм |
| высота | 900 мм |
| вес | 4500 кг |
| серия | 3.702-1/79 |
Цена:
Рассчитать стоимостьК 2 Колонны по серии 3.702-1/79.
| Параметр | Значение |
|---|---|
| длина | 6550 мм |
| ширина | 700 мм |
| высота | 900 мм |
| вес | 4500 кг |
| серия | 3.702-1/79 |
К 2 Колонны по серии 3.702-1/79.
