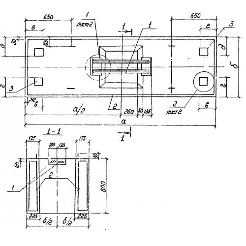
КАП 1
Характеристики изделия:
| Параметр | Значение |
|---|---|
| длина | 3200 мм |
| ширина | 750 мм |
| высота | 800 мм |
| вес | 4500 кг |
| серия | 3.702-1/79 |
Цена:
Рассчитать стоимостьКАП 1 Капители по серии 3.702-1/79.
| Параметр | Значение |
|---|---|
| длина | 3200 мм |
| ширина | 750 мм |
| высота | 800 мм |
| вес | 4500 кг |
| серия | 3.702-1/79 |
КАП 1 Капители по серии 3.702-1/79.
