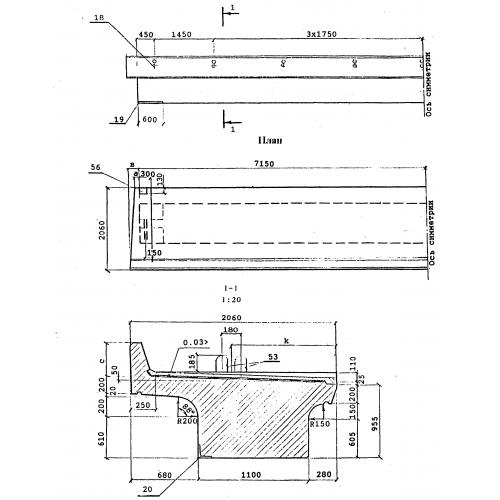
БП 1.143

Чертеж изделия:
Характеристики изделия:
ПараметрЗначение
длина14300 мм
ширина2060 мм
высота1380 мм
вес50200 кг
серия3.501.1-175.93

БП 1.143 Плитные балки по серии 3.501.1-175.93.