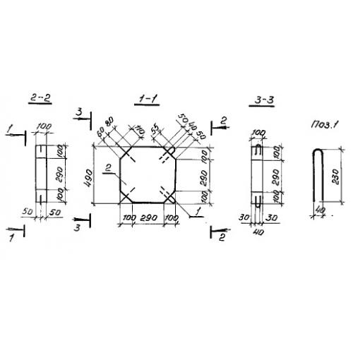
П-1 блок укрепления
Характеристики изделия:
| Параметр | Значение |
|---|---|
| длина | 490 мм |
| ширина | 490 мм |
| высота | 100 мм |
| вес | 57,5 кг |
| серия | 3.501.1-156 |
Цена:
Рассчитать стоимостьП-1 Блоки укрепления по серии 3.501.1-156.
| Параметр | Значение |
|---|---|
| длина | 490 мм |
| ширина | 490 мм |
| высота | 100 мм |
| вес | 57,5 кг |
| серия | 3.501.1-156 |
П-1 Блоки укрепления по серии 3.501.1-156.
