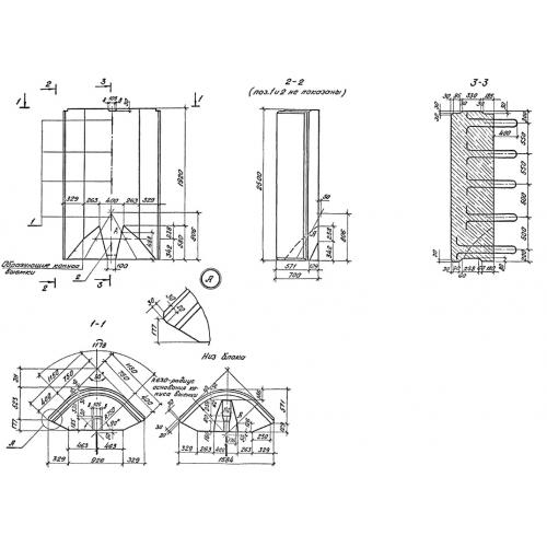
3К 11.25

Чертеж изделия:
Характеристики изделия:
ПараметрЗначение
длина1548 мм
ширина700 мм
высота2500 мм
вес4500 кг
серия3.501.1-150

3К 11.25 Блоки контурные концевые по серии 3.501.1-150.