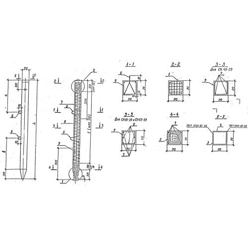
СН 65-39 Сваи квадратного сечения
Характеристики изделия:
| Параметр | Значение |
|---|---|
| длина | 6500 мм |
| ширина | 210 мм |
| высота | 210 мм |
| масса | 750 кг |
| нормативный документ | Серия 3.407.1-157 |
Цена:
Рассчитать стоимостьСН 65-39 Сваи предварительно напряженные по Серии 3.407.1-157.
