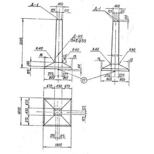
Ф 18.18 Фундаменты грибовидные

Чертеж изделия:
Характеристики изделия:
ПараметрЗначение
длина1800 мм
ширина1800 мм
высота3200 мм
масса3000 кг
нормативный документСерия 3.407.1-157

Ф 18.18 Фундаменты под анкерно-угловые опоры по Серии 3.407.1-157.