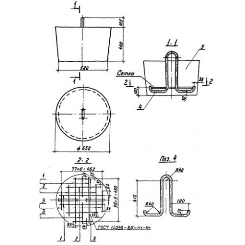
АЦ 1
Характеристики изделия:
| Параметр | Значение |
|---|---|
| длина | 650 мм |
| ширина | 650 мм |
| высота | 400 мм |
| масса | 300 кг |
| нормативный документ | Серия 3.407.1-143 |
Цена:
Рассчитать стоимостьАЦ 1 Анкер цилиндрический Серия 3.407.1-143.
| Параметр | Значение |
|---|---|
| длина | 650 мм |
| ширина | 650 мм |
| высота | 400 мм |
| масса | 300 кг |
| нормативный документ | Серия 3.407.1-143 |
АЦ 1 Анкер цилиндрический Серия 3.407.1-143.
