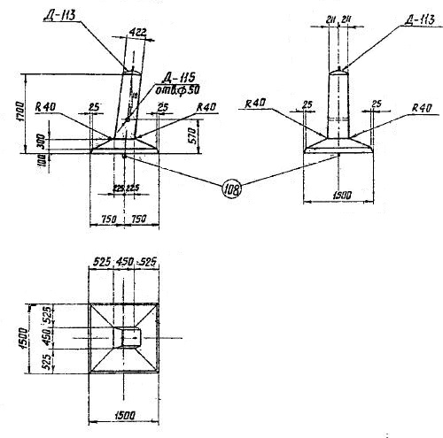
ФК 2 Фундаменты укороченные

Чертеж изделия:
Характеристики изделия:
ПараметрЗначение
длина1500 мм
ширина1500 мм
высота1700 мм
масса1925 кг
нормативный документСерия 3.407-115

ФК 2  Фундаменты укороченные Серия 3.407-115.