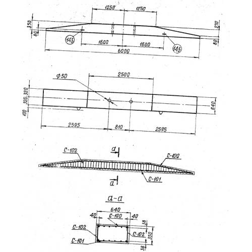
АР 8 Ригель

Чертеж изделия:
Характеристики изделия:
ПараметрЗначение
длина6000 мм
ширина640 мм
высота350 мм
масса2600 кг
нормативный документСерия 3.407-115

АР 8  Ригель анкерных опор  Серия 3.407-115.