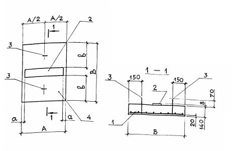
ОП 7 опорная подушка

Чертеж изделия:
Характеристики изделия:
ПараметрЗначение
длина750 мм
ширина850 мм
высота140 мм
масса230 кг
нормативный документСерия 3.006.1-8

ОП 7   Опорные подушки  под подвижные опоры трубопроводов Серия 3.006.1-8.