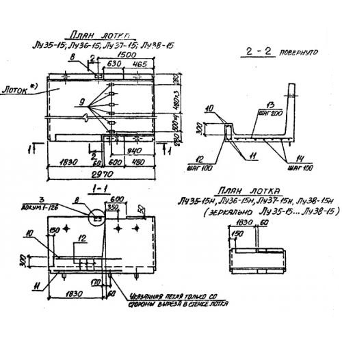
Лу 37

Чертеж изделия:
Характеристики изделия:
ПараметрЗначение
длина2970 мм
ширина4000 мм
высота1400 мм
масса8000 кг
нормативный документСерия 3.006.1-2/82

Лу 37  Лотки теплотрасс угловые Серия 3.006.1-2/82.