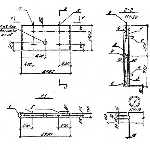
ПЛ 1 лицевые плиты

Чертеж изделия:
Характеристики изделия:
ПараметрЗначение
длина2980 мм
ширина130 мм
высота1500 мм
масса1500 кг
нормативный документСерия 3.002.1-1

ПЛ 1  Плиты лицевые  Серия 3.002.1-1.