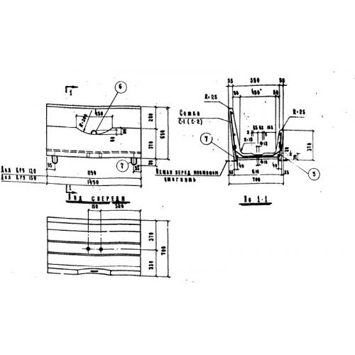
КРУ 120
Характеристики изделия:
| Параметр | Значение |
|---|---|
| длина | 1190 мм |
| ширина | 700 мм |
| высота | 650 мм |
| вес | 300 кг |
| серия | 2.800-2 |
Цена:
Рассчитать стоимостьКРУ 120 Кормушки для крупного рогатого скота по серии 2.800-2.
| Параметр | Значение |
|---|---|
| длина | 1190 мм |
| ширина | 700 мм |
| высота | 650 мм |
| вес | 300 кг |
| серия | 2.800-2 |
КРУ 120 Кормушки для крупного рогатого скота по серии 2.800-2.
