СПО 2.5-5

Чертеж изделия:
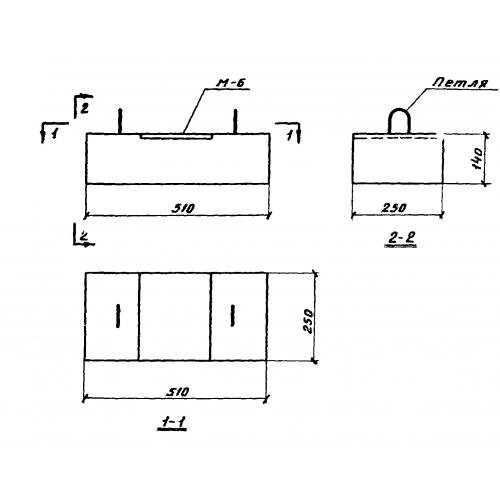
Характеристики изделия:
ПараметрЗначение
длина510 мм
ширина250 мм
высота140 мм
вес45 кг
серия1.862-1

СПО 2.5-5 Опорные подушки для сельскохозяйственного строительства по серии 1.862-1.