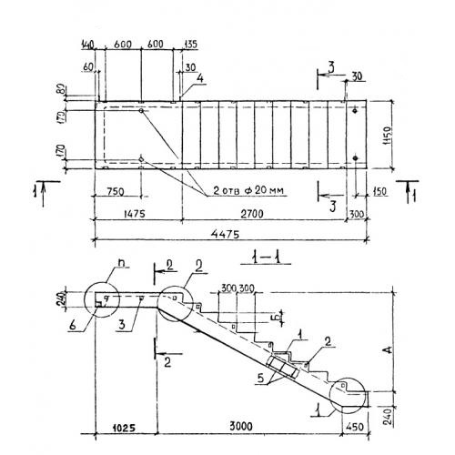
ЛМП 57.11.14 лестничные марши
Характеристики изделия:
| Параметр | Значение |
|---|---|
| длина | 4475 мм |
| ширина | 1150 мм |
| высота | 1400 мм |
| масса | 1900 кг |
| нормативный документ | Серия 1.050.1-2 |
Цена:
Рассчитать стоимостьЛМП 57.11.14 Лестничные марши ребристые с полуплощадками Серия 1.050.1-2
