3КНД 36.36

Чертеж изделия:
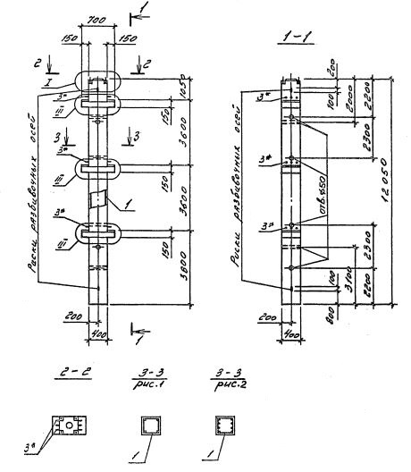
Характеристики изделия:
ПараметрЗначение
длина12050 мм
ширина400 мм
высота700 мм
масса4950 кг
нормативный документСерия 1.020.1-4

3КНД 36.36    Колонны двухконсольные для нижних этажей (Серия 1.020.1-4).

Маркировка с учетом диаметра угловых и промежуточных стержней арматуры, в мм. и марки бетона:

3КНД 36.36-3.20.00

3КНД 36.36-3.22.00

3КНД 36.36-3.28.00

3КНД 36.36-3.32.00

3КНД 36.36-3.36.00

3КНД 36.36-4.40.00 

3КНД 36.36-4.32.28

3КНД 36.36-5.36.32