Р 6
Характеристики изделия:
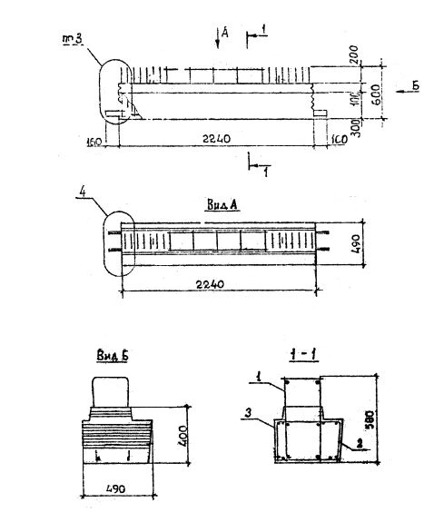
| Параметр | Значение |
|---|---|
| длина | 2550 мм |
| ширина | 490 мм |
| высота | 580 мм |
| масса | 630 кг |
| нормативный документ | Серия 1.020.1-2с/89 |
Цена:
Рассчитать стоимостьР 6 Ригели для одностороннего опирания плит Серия 1.020.1-2с/89.
| Параметр | Значение |
|---|---|
| длина | 2550 мм |
| ширина | 490 мм |
| высота | 580 мм |
| масса | 630 кг |
| нормативный документ | Серия 1.020.1-2с/89 |
Р 6 Ригели для одностороннего опирания плит Серия 1.020.1-2с/89.