1КВ колонны

Чертеж изделия:
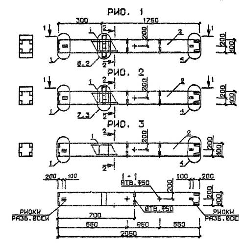
Характеристики изделия:
ПараметрЗначение
длина2050 мм
ширина400 мм
высота400 мм
масса820 кг
нормативный документСерия 1.020-1/83

1КВ  Колонны Серия 1.020-1/83.