К 1
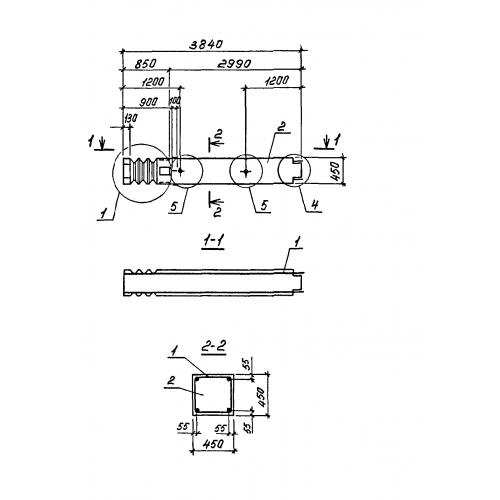
Характеристики изделия:
| Параметр | Значение |
|---|---|
| длина | 3840 мм |
| ширина | 450 мм |
| высота | 450 мм |
| масса | 1900 кг |
| нормативный документ | ГОСТ 27108-86 |
Цена:
Рассчитать стоимостьК 1 Колонны ГОСТ 27108-86.
| Параметр | Значение |
|---|---|
| длина | 3840 мм |
| ширина | 450 мм |
| высота | 450 мм |
| масса | 1900 кг |
| нормативный документ | ГОСТ 27108-86 |
К 1 Колонны ГОСТ 27108-86.
